Mercedes-Benz of Stevens Creek

Antenna, Antenna Amplifier and Wiringharnesses for 2018 Mercedes-Benz G65 AMG

Vehicle

2018 Mercedes-Benz G65 AMG

Change Vehicle

Categories

Browse Categories
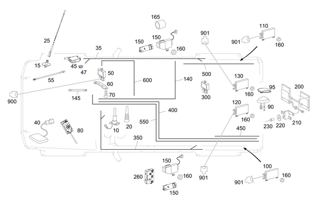
Antenna, Antenna Amplifier and Wiringharnesses for 2018 Mercedes-Benz G65 AMG #0
No.
Part # / Description / Price
10
Antenna
$204.00
Mercedes-Benz Mercedes-Benz

To front roof frame. Roof mounted antenna. Autotelephone.

20
Protective Cap
$22.50
Mercedes-Benz Mercedes-Benz

Cap

To antenna. D-netz.

25
Antenna
$76.00
Mercedes-Benz Mercedes-Benz

Right front fender.

40
Antenna
$189.00
Mercedes-Benz Mercedes-Benz

Under left headlamp cover gps.

47
50
Antenna Splitter
Mercedes-Benz Mercedes-Benz

Telestart/ctel. A2/53. Windshield top.

50
Antenna Splitter
$222.00
Mercedes-Benz Mercedes-Benz

Navibox. Navigation. Fm/tmc a2/98. Foil. Under seat am, fm.

50
Duplexer
$189.00
Mercedes-Benz Mercedes-Benz

Active duplexer (gps). Gps (global positioning system). Front. Left cockpit. A-pillar,left.

70
Tapping Screw
$1.20
Mercedes-Benz Mercedes-Benz

MBN 10169-ST3.5X13
Diameter: 5mm
Thread code letter: R. Holder to protective grille. Seal to a-pillar. Sealing mounting with retaining rail in left-hand corner section. Left protective grille mount. Bracket mounting.

80
90
Antenna
Mercedes-Benz Mercedes-Benz

Trunk lid. Roof,rear sdars. Satellite radio.

90
Radio Antenna Assembly
$104.00
Mercedes-Benz Mercedes-Benz

Antenna

Roof,rear central sdars. SDARS Rear roof, center. Trunk lid, center. With satellite radio.

95
Antenna Cover
Mercedes-Benz Mercedes-Benz

Antenna. Trunk lid, center. Roof,rear central. Rear roof, center SDARS.

100
Amplifier
$242.00
Mercedes-Benz Mercedes-Benz

Antenna in left of trunk.

110
140
Electric Line
$119.00
Mercedes-Benz Mercedes-Benz

Central locking amplifier.

150
Antenna Booster
$180.00
Mercedes-Benz Mercedes-Benz

Antenna Amplifier

Rear panel door,top right. Radio controlled locking system. Antenna amplifier. Rear-end door, upper right. C-pillar, upper right. Metris.

150
Antenna Booster
$202.00
Mercedes-Benz Mercedes-Benz

Antenna Amplifier

Rear panel door,top right. Radio controlled locking system. Antenna amplifier. Rear-end door, upper right. C-pillar, upper right.

150
Amplifier
Mercedes-Benz Mercedes-Benz

Rear panel door,top right. Radio controlled locking system. Antenna amplifier a2/18.

150
Amplifier
$204.00
Mercedes-Benz Mercedes-Benz

Rear panel door,top right. Antenna amplifier. Radio controlled locking system.

160
Hexagon Nut
$3.40
Mercedes-Benz Mercedes-Benz

M6. Bracket to water tank. Mounting parts. Control unit. Bracket mounting. Brake booster assembly to asr bracket. Fuel lines to cowl. Transistorized ignition switchgear to wheelhouse panel. Roller blind to rear panel covering, top.

200
Antenna
Mercedes-Benz Mercedes-Benz

Distress call. Emergency call. In rear bumper.

200
Antenna
$84.00
Mercedes-Benz Mercedes-Benz

Emergency call. Tele aid. Rear bumper.

230
Rivet
Mercedes-Benz Mercedes-Benz

Rear left. 4x11.43. Covering to front seat cushion frame. 4x11.43. Bracket mounting. 4x11.43. Mount, left holder. 4X11.43. Shell to left height adjustment. 4x11.43.

260
Antenna
$130.00
Mercedes-Benz Mercedes-Benz

Telephone. C-pillar bottom, left. Center console.

300
Antenna Splitter
$117.00
Mercedes-Benz Mercedes-Benz

Clutch. Tv tuner. Tele aid. Radiocommunication. In luggage compartment,left. Duplexer. Telephone. In left trunk.

400
Electrical Wiring Harness
Mercedes-Benz Mercedes-Benz

Antenna amplifier to side window left rear.

400
Electric Line
Mercedes-Benz Mercedes-Benz

Antenna amplifier to side window left rear a2/64 - a40/3.

400
Electrical Wiring Harness
Mercedes-Benz Mercedes-Benz

Comand operating unit to antenna splitter.

600
Antenna
$50.00
Mercedes-Benz Mercedes-Benz

Bluetooth a2/91. Center console bluetooth.

900
Plug Housing
$7.50
Mercedes-Benz Mercedes-Benz

Antenna splitter to operating unit a28/1,. 1-pin ff6.3model 1: ffmodel 2: 6.3slots: 1. Connector, backup camera x169. 1-pin ff6.3model 1: ffmodel 2: 6.3slots: 1. Operating unit a40/3. 1-pin ff6.3model 1: ffmodel 2: 6.3slots: 1. UNIPOLAR. 1-PIN FF6.3Model 1 ...

901
Receptacle Housing
$5.50
Mercedes-Benz Mercedes-Benz

Stop lamp switch, black cod. A. 3-pin jpt. Radio set-antenna. 3-pin jpt. Fuse and relay box,driver 3 polig. 3-pin jpt. Antenna amplifier. 3-pin jpt. Central locking connector x35/71. 3-pin jpt. Fuse and relay box near driver's seat. 3-pin jpt. Stop light switch s9/1. 3-pin jpt. Driver's airbag. 3-pin jpt.