Cable Harnesses Used for Tail Lamps, Fuel Pump, and Transmission for 1985 Mercedes-Benz 190E
Mercedes-Benz Starter lock-out switch 9-poilg. Starter lock-out switch 9-polig. Declutching-start/back-up-light switch. Starter non-repeat and back-up light switch.
Mercedes-Benz 4 MM. 0.35-2.5 MM2 RK2.5Leitungsquerschnitt Min/Max: 0,35-2,5mm2Oberflächenschutz PINs: AgELA: -Model 1: RKModel 2: 2.5Release tool: W220 589 01 99 30 / W220 589 01 99 53Crimp tool: W220 589 01 99 06. 2,5 (AX). 0.35-2.5 MM2 RK2.5Leitungsquerschnitt Min/Ma ...
Mercedes-Benz Back-up lamp cable. To 007 545 00 28, 015 545 49 28. To 006 545 78 28. Fuel gauge sender unit. 4-pole to 015 545 49 28. Quadruple to 009 545 52 28. To 015 545 49 2,. Turn signal and side marker lamps left. To 009 545 52 28 (asd).
Mercedes-Benz To 008 545 08 28. Cool box a39/1. To 008 545 09 28. Blower. Brake fluid control,brake lining wear indication.
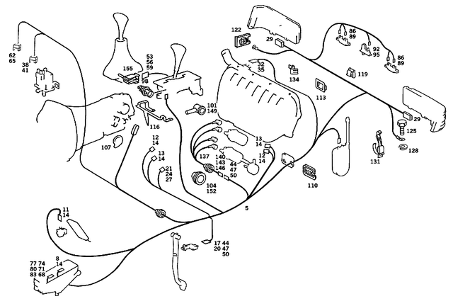
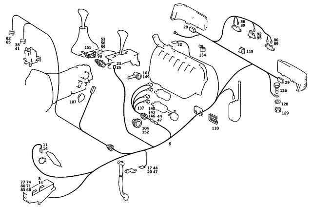
Mercedes-Benz Blower. 2-pin rk4. Back-up lamp cable. 2-pin rk4. To a 008 545 09 28. 2-pin rk4. To a 008 545 08 28. 2-pin rk4. Secondary air pump m33. 2-pin rk4. To 008 545 08 28/008 545 09 28. 2-pin rk4. Air injection m33. 2-pin rk4.
Mercedes-Benz 4,0 MM. 0.35-6.0 MM2 RK4.0
Leitungsquerschnitt Min/Max: 0,35-6,0mm2
Oberflächenschutz PINs: Ag
ELA: -
Model 1: RK
Model 2: 4.0
Release tool: W220 589 01 99 52. TO 008 545 08 28,000 821 22 26. 0.35-6.0 MM2 RK4.0
Leitungsquerschnitt Min/Max: 0,35-6,0mm2
Oberflächenschutz PINs: Ag
ELA: -
Model 1: RK
Model 2: 4.0
Release tool: W220 589 01 99 52.
Mercedes-Benz Buzzer contact;2-pole. 2-pin. Central locking system. 2-pin. Evaporator temperature sensor. 2-pin. Solenoid valve,bipolar. 2-pin. Temperature sensor;2-pole. 2-pin. Heating water valve,temperature sensor,electro-magnet valves;bipolar. 2-pin.
Mercedes-Benz To 010 545 10 28. Upper part. To 008 545 37 28. Buzzer contact.
Mercedes-Benz 2.5 M. 0.35-2.5 MM2 RK2.5Leitungsquerschnitt Min/Max: 0,35-2,5mm2Oberflächenschutz PINs: AgELA: -Model 1: RKModel 2: 2.5Release tool: W220 589 01 99 30 / W220 589 01 99 53Crimp tool: W220 589 01 99 06. TO 201 540 02 81. 0.35-2.5 MM2 RK2.5Leitungsquerschni ...
Mercedes-Benz To 000 546 83 40. To 000 546 79 40. To 000 546 583 40. Charge control. Electric cable to pressure switch. Low pressure switch.
Mercedes-Benz Fuel pump branch-off to luggage compartment floor. Electric cable thru tunnel. Entrance lamp. At blower;module box cooling. Capillary tube and choke cable thru fire wall. Automatic transmission branch-off. Solenoid switch branch-off. Capillary tube to fire wall.
Mercedes-Benz Blower. Electric cable thru fire wall. Fuel pump branch-off to luggage compartment floor. Automatic transmission branch-off. Electric cable thru tunnel. Scuff protection for electric cables left.
Mercedes-Benz Rear panel used with central locking mechanism & telephone pre-equipment. Tail lamp cable harness thru rear panel.
Mercedes-Benz Nut Retainer
Tail lamp ground cable to wheel arch panel. Ground cable to rear pillar. Cable connector to rear pillar.
Mercedes-Benz Ground cable to wheelhouse. Headlamp ground cable to right wheel arch panel. Headlamp ground to radiator baffle plate. Ground connection to tail lamp cable harness. License plate lamp to rear bumpen.
Mercedes-Benz Cables to cable connector. At front center stiffening. Blinker & tempomat switches to steering column jacket tube. Cable to resistor. Main cable harness to radiator baffle, right. Starting cable to cable connector.
Mercedes-Benz Electric cable thru rear panel door and rear panel. Vacuum line thru rear panel/tail,left.
Mercedes-Benz To 008 545 20 28,011 545 10 28. Rear fuel pump cable harness plugconnection.
Mercedes-Benz Lighting of gear indicator. Lamp control. Tell-tale lamp airbag. Windshield-washer-fluid control. Shift gate illumination. Bipolar. Tell-tale lamp abs/asr. Pre-glow indicator. Tell-tale lamp 4-matic. (oxygen sensor exchange indicator).
Mercedes-Benz Solenoid valve. To valve. Exhaustgas recirculation. Electric change-over valve.
Mercedes-Benz DOOR TRIM MOUNTING LEFT. 4.2 X 9.5 MMDiameter: 4,2mmThread code letter: R. MOUNTING OF CARRIER. 4.2 X 9.5 MMDiameter: 4,2mmThread code letter: R. Window divider mount, left. 4.2 X 9.5 MMDiameter: 4,2mmThread code letter: R. ANTENNA SPLITTER. 4.2 X 9.5 MMDi ...
Mercedes-Benz Automatic antenna. 4-pin rk2.5. Valve strip. Fourpole. 4-pin rk2.5. Tempmatik control box. 6-pole. 4-pin rk2.5. Inboard feeler blower. 4-pin rk2.5. Electrical antenna,6-pole. 4-pin rk2.5. Ventilation blower. 4-pin rk2.5. Pre-glow time relay. 4-pole. 4-pin rk2.5.



