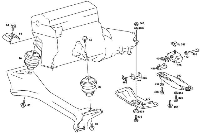
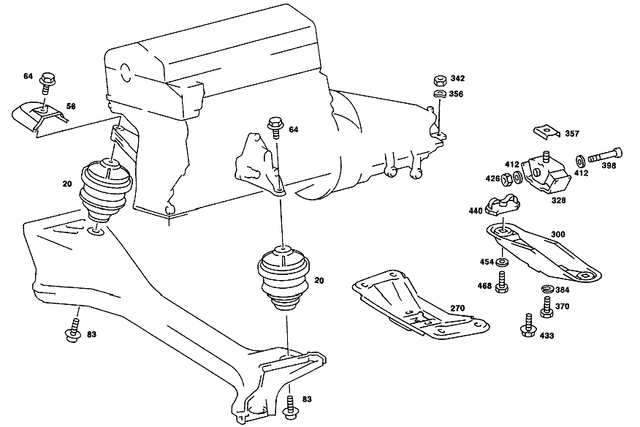
Engine Suspension for 1985 Mercedes-Benz 190E
Vehicle
1985 Mercedes-Benz 190E
Change Vehicle
- Battery, Starter/Alternator Cable
- Brake Lining Wear Indicator and Antilock Braking System
- Cable Harnesses Used for Tail Lamps, Fuel Pump, and Transmission
- Control Units
- Electric Cables Used for Starting and Light Switches
- Electric Cables Used for Starting Switch, Instrument Cluster, Light Switch
- Engine Cable Harness
- Front Brake Lining Wear Indicator, Abs & Automatic Locking Differential
- Fuse Box and Relay
- Headlamp Cable Harness and Horn
- Ignition System
- Ignition System and Cable Harness for Fan
- Ignition System and Cable Harness for Tachometer and Fan
- Inboard Cable Harness
- Instrument Cluster
- Loom Ties and Cable Mounting Parts
- Outside Temperature Indicator
- Overheat Warning Indicator
- Speed Sensor, Speedometer Flexible Shaft
- Speed Sensor, Speedometer Flexible Shaft and Oil Pressure Gauge Line
- Tempomat (Cruise Control)
- Antenna
- Antitheft Alarm System
- Autotelephone
- Belt Tensioner and Airbag
- Cable Coverg. , Prot. Hoses, Electr. Parts for Blower Motor & Heated Rear Pane
- Central Locking Mechanism and Orthopaedic Backrest
- Central Locking System
- Electric Seat Adjuster
- Electric Sliding Roof
- Electric Window Regulator
- Headlamp Wiper/Washer
- Interior Lamps
- Lighting Unit
- Outside Rearview Mirror
- Pane Wiper
- Radio Accessories
- Rear and License Plate Lamp
- Rear Lamps, Additional Stop Light, and License Plate Lamp
- Seat Heating
- Switch and Light Guide
- Air Conditioner
- Catalyst
- Central Locking System
- Design Group Orientation Table
- Electric Window Regulator
- Headlamp Wiper/Washer
- Outboard Temperature Indicator, Electr
- Outside Rearview Mirror
- Radio Set-Antenna
- Radio Set-Loudspeaker
- Residual Heat Utilization
- Seat Heating
- Sports Version
- Tempomat (Cruise Control)
- Trailer Coupling
- Battery, Starter/Alternator Cable
- Brake Lining Wear Indicator and Antilock Braking System
- Cable Harnesses Used for Tail Lamps, Fuel Pump, and Transmission
- Control Units
- Electric Cables Used for Starting and Light Switches
- Electric Cables Used for Starting Switch, Instrument Cluster, Light Switch
- Engine Cable Harness
- Front Brake Lining Wear Indicator, Abs & Automatic Locking Differential
- Fuse Box and Relay
- Headlamp Cable Harness and Horn
- Ignition System
- Ignition System and Cable Harness for Fan
- Ignition System and Cable Harness for Tachometer and Fan
- Inboard Cable Harness
- Instrument Cluster
- Loom Ties and Cable Mounting Parts
- Outside Temperature Indicator
- Overheat Warning Indicator
- Speed Sensor, Speedometer Flexible Shaft
- Speed Sensor, Speedometer Flexible Shaft and Oil Pressure Gauge Line
- Tempomat (Cruise Control)
- Antenna
- Antitheft Alarm System
- Autotelephone
- Belt Tensioner and Airbag
- Cable Coverg. , Prot. Hoses, Electr. Parts for Blower Motor & Heated Rear Pane
- Central Locking Mechanism and Orthopaedic Backrest
- Central Locking System
- Electric Seat Adjuster
- Electric Sliding Roof
- Electric Window Regulator
- Headlamp Wiper/Washer
- Interior Lamps
- Lighting Unit
- Outside Rearview Mirror
- Pane Wiper
- Radio Accessories
- Rear and License Plate Lamp
- Rear Lamps, Additional Stop Light, and License Plate Lamp
- Seat Heating
- Switch and Light Guide
- Air Conditioner
- Catalyst
- Central Locking System
- Design Group Orientation Table
- Electric Window Regulator
- Headlamp Wiper/Washer
- Outboard Temperature Indicator, Electr
- Outside Rearview Mirror
- Radio Set-Antenna
- Radio Set-Loudspeaker
- Residual Heat Utilization
- Seat Heating
- Sports Version
- Tempomat (Cruise Control)
- Trailer Coupling
Browse Categories
Select category
- Battery, Starter/Alternator Cable
- Brake Lining Wear Indicator and Antilock Braking System
- Cable Harnesses Used for Tail Lamps, Fuel Pump, and Transmission
- Control Units
- Electric Cables Used for Starting and Light Switches
- Electric Cables Used for Starting Switch, Instrument Cluster, Light Switch
- Engine Cable Harness
- Front Brake Lining Wear Indicator, Abs & Automatic Locking Differential
- Fuse Box and Relay
- Headlamp Cable Harness and Horn
- Ignition System
- Ignition System and Cable Harness for Fan
- Ignition System and Cable Harness for Tachometer and Fan
- Inboard Cable Harness
- Instrument Cluster
- Loom Ties and Cable Mounting Parts
- Outside Temperature Indicator
- Overheat Warning Indicator
- Speed Sensor, Speedometer Flexible Shaft
- Speed Sensor, Speedometer Flexible Shaft and Oil Pressure Gauge Line
- Tempomat (Cruise Control)
- Antenna
- Antitheft Alarm System
- Autotelephone
- Belt Tensioner and Airbag
- Cable Coverg. , Prot. Hoses, Electr. Parts for Blower Motor & Heated Rear Pane
- Central Locking Mechanism and Orthopaedic Backrest
- Central Locking System
- Electric Seat Adjuster
- Electric Sliding Roof
- Electric Window Regulator
- Headlamp Wiper/Washer
- Interior Lamps
- Lighting Unit
- Outside Rearview Mirror
- Pane Wiper
- Radio Accessories
- Rear and License Plate Lamp
- Rear Lamps, Additional Stop Light, and License Plate Lamp
- Seat Heating
- Switch and Light Guide
- Air Conditioner
- Catalyst
- Central Locking System
- Design Group Orientation Table
- Electric Window Regulator
- Headlamp Wiper/Washer
- Outboard Temperature Indicator, Electr
- Outside Rearview Mirror
- Radio Set-Antenna
- Radio Set-Loudspeaker
- Residual Heat Utilization
- Seat Heating
- Sports Version
- Tempomat (Cruise Control)
- Trailer Coupling
- Battery, Starter/Alternator Cable
- Brake Lining Wear Indicator and Antilock Braking System
- Cable Harnesses Used for Tail Lamps, Fuel Pump, and Transmission
- Control Units
- Electric Cables Used for Starting and Light Switches
- Electric Cables Used for Starting Switch, Instrument Cluster, Light Switch
- Engine Cable Harness
- Front Brake Lining Wear Indicator, Abs & Automatic Locking Differential
- Fuse Box and Relay
- Headlamp Cable Harness and Horn
- Ignition System
- Ignition System and Cable Harness for Fan
- Ignition System and Cable Harness for Tachometer and Fan
- Inboard Cable Harness
- Instrument Cluster
- Loom Ties and Cable Mounting Parts
- Outside Temperature Indicator
- Overheat Warning Indicator
- Speed Sensor, Speedometer Flexible Shaft
- Speed Sensor, Speedometer Flexible Shaft and Oil Pressure Gauge Line
- Tempomat (Cruise Control)
- Antenna
- Antitheft Alarm System
- Autotelephone
- Belt Tensioner and Airbag
- Cable Coverg. , Prot. Hoses, Electr. Parts for Blower Motor & Heated Rear Pane
- Central Locking Mechanism and Orthopaedic Backrest
- Central Locking System
- Electric Seat Adjuster
- Electric Sliding Roof
- Electric Window Regulator
- Headlamp Wiper/Washer
- Interior Lamps
- Lighting Unit
- Outside Rearview Mirror
- Pane Wiper
- Radio Accessories
- Rear and License Plate Lamp
- Rear Lamps, Additional Stop Light, and License Plate Lamp
- Seat Heating
- Switch and Light Guide
- Air Conditioner
- Catalyst
- Central Locking System
- Design Group Orientation Table
- Electric Window Regulator
- Headlamp Wiper/Washer
- Outboard Temperature Indicator, Electr
- Outside Rearview Mirror
- Radio Set-Antenna
- Radio Set-Loudspeaker
- Residual Heat Utilization
- Seat Heating
- Sports Version
- Tempomat (Cruise Control)
- Trailer Coupling
No.
Part # / Description / Price
5
Engine Mount
Mercedes-Benz
$135.00
Mercedes-Benz Front. Only used with air conditioner. Not for use with air conditioner. Used without air conditioner.
5
8
11
14
Hexagon Head Bolt
Mercedes-Benz
$4.00
Mercedes-Benz Bolt and Washer Assembly
M10X30
Diameter: 10mm
Strength / hardness class: 10.9
Thread code letter: M
Thread pitch: 1mm. Engine front mounting to engine support. Protective plate mount.
20
26
26
29
Nut
Mercedes-Benz
Mercedes-Benz Engine mounting to transmission. Mounting with support to transmission. Eccentric pin.
29
38
41
44
53
Hexagon Head Bolt
Mercedes-Benz
$3.40
Mercedes-Benz Screw
Fastening, spare wheel well. M10X20
Diameter: 10mm
Strength / hardness class: 10.9
Thread code letter: M
Thread pitch: 1mm. Hinge to door wing. Engine rear support to floor. Cover to axle housing.
No.
Part # / Description / Price
No.
Part # / Description / Price


