Refrigerant Line Arrangement for 1985 Mercedes-Benz 190E
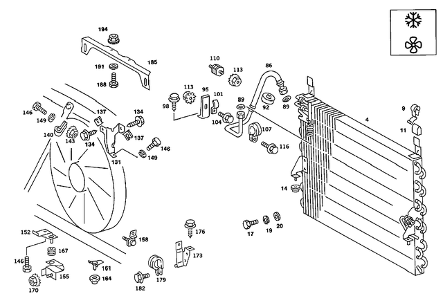
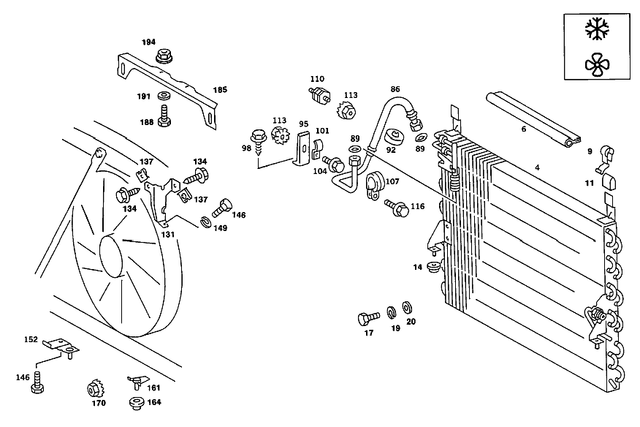
Mercedes-Benz Condenser to stiffening and to front cross member. Condenser to front central stiffening and to support,bottom.
Mercedes-Benz Condenser to stiffening and to front cross member. Condenser to front central stiffening and to support,bottom.
Mercedes-Benz Front fender to wheelhouse bracket. 4.8x13. Partition panel to fire wall,wheelhouse,connection support,and console. 4.8x13. Mounting, cover. 4.8x13. To 140 470 04 47. 4.8x13. Control unit. 4.8x13. Cooling pipe to side member and to engine cross member. 4.8x13. Line to upper rear wall. 4.8x13. High pressure line to subframe. 4.8x13. Screening below gear lever. 4.8x13. Heat shield mounting. 4.8x13.
Mercedes-Benz Pressure switch to liquid tank used for additional blower. 9.0 x 1.8 mm. Pressure switch to liquid tank used for compressor. 9.0 x 1.8 mm. At liquid tank. 9.0 x 1.8 mm. Refrigerant reservoir valve. 9.0 X 1.8 MM. Sensor. 9.0 x 1.8 mm.
Mercedes-Benz At liquid tank. 16 bar. Additional blower. 16 bar. Thermostat to liquid tank. 16 bar.
Mercedes-Benz To 129 830 01 70. To 140 830 20 15. Compressor-to-condenser refrigerant line.
Mercedes-Benz Expansion-valve-to-compressor refrigerant line to partition panel. Pipe line to shock absorber leg reinforcement. From oil tank to pump.
Mercedes-Benz Screw
Rear lid to hinge lever. Drive to rear pillar. Pipe line to shock absorber leg reinforcement. Strut to front cross member. Bracket to car floor. Cooling pipe to front cross member. Engine hood upper catch to engine hood. Partition panel. Strut to stiffening,front central.
Mercedes-Benz Pipe line to shock absorber leg reinforcement. Pipe line to valve. Hinge lever to engine hood.
Mercedes-Benz Heater. 7.5X2.0Strength / hardness class: EPDMInside diameter: 7,5mmOutside diameter: 11,5mmMaterial thickness: 2mm. HEATING. 7.5X2.0Strength / hardness class: EPDMInside diameter: 7,5mmOutside diameter: 11,5mmMaterial thickness: 2mm. MOUNTING PLATE TO DRI ...
Mercedes-Benz To 140 470 01 47. Bracket to auxiliary blower m 5x12. Bracket to whelhouse flange. Additional blower to condenser.
Mercedes-Benz For fuel pipe and brake pipe. Fuel and brake lines to front support. Blinker-sender-to-toeboard/to-rightwheel-arch-panel main cable harness. Blow-off line to wheelhouse panel. Pressure-reservoir-to-connector hose to wheelhouse. Line to side member.
Mercedes-Benz Line to air conditioning system. 14X2 MMDiameter: 18mmStrength / hardness class: EPDMInside diameter: 14mmOutside diameter: 18mmMaterial thickness: 2mm. TUBING AT EXPANSION VALVE. 14X2 MMDiameter: 18mmStrength / hardness class: EPDMInside diameter: 14mmOut ...
Mercedes-Benz Pressure switch to liquid tank used for additional blower. Door contact switch. Front door.
Mercedes-Benz Hexagon Head Bolt
Rear lid to hinge lever. Drive to rear pillar. Pipe line to shock absorber leg reinforcement. Strut to front cross member. Bracket to car floor. Cooling pipe to front cross member. Engine hood upper catch to engine hood. Partition panel. Strut to stiffening,front central.
Mercedes-Benz Additional blower to front central stiffening. Front fender to wheelhouse. Bracket to cross member.
Mercedes-Benz Additional blower to front central stiffening. Bracket to auxiliary fan.
Mercedes-Benz Hinge to glove compartment lid. Bracket to cross member. Additional blower to front central stiffening. Electric cable to fuse box.
Mercedes-Benz Additional blower to front central stiffening. Bracket to cross member.
Mercedes-Benz Screw
Additional blower to front central stiffening. Bracket to auxiliary fan.
Mercedes-Benz Condensed water drain. Compressor-to-condenser refrigerant line to condenser. Starting cable to side member.



