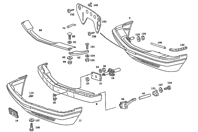
Front Bumper for 1990 Mercedes-Benz 560SEL
Mercedes-Benz Nut
Bracket to stabilizer. Torsion bar to link. Universal joint to steering column.
Mercedes-Benz Left and right ornamental covers to central ornamental cover. Bracket to bumper. Left bumper face bar to right bumper face bar. Stiffening to front bumper. Covering to front bumper. Energy-absorbing unit and mounting to rear bumper.
Mercedes-Benz Hexagon Nut
Master cylinder to brake booster. Rear bumper to rear body panel cross member. Electric cable to alternator. Pedal assembly to fire wall. Front bumper to cross member. Armrest to backrest. Bracket to bumper. Left stiffening to right stiffening. On front door,bottom.
Mercedes-Benz Additional blower to front central stiffening. Bracket to auxiliary fan.
Mercedes-Benz Ornamental cover to bumper and to panelling. Luggage net to backrest. Rubber mats to front compartment floor. Front seat backrest,rear.
Mercedes-Benz Washer
Front bumper to cross member. Rear bumper to rear body panel cross member. Mounting bumper. At rear cross member. Energy-absorbing unit to bumper. Bumper to tail central piece.
Mercedes-Benz Front bumper to cross member. Rear bumper to rear body panel cross member. Engine support to tunnel reinforcement.
Mercedes-Benz Nut
Cable to cable connector. Front bumper to cross member. Hinge lever to support upper part. Rear bumper to rear body panel cross member. Bell housing with transmission to intermediate flange.
Mercedes-Benz Main muffler suspension. M8x16. Central muffler suspension. Bracket on rear axle m 8x16.
Mercedes-Benz For license plate. Customs license plate to moulding. Rear license plate.
Mercedes-Benz FRONT LICENSE PLATE TO PLATE
Diameter: 4,8mm
Thread code letter: F. Interior handle assembly to door
diameter: 4,8mm
thread code letter: f.
Mercedes-Benz M14X1.5
Diameter: 14mm
Strength / hardness class: 8
Thread code letter: M
Thread pitch: 1,5mm
Width across flats: 21mm. Tie rod to steering arm. Energy-absorbing unit to plate. Cross strut to shackle. Outside left. Track rod left. Mounting and clamp to energy-absorbing unit.
Mercedes-Benz Panelling to bumper. Temperature sensor to front bumper. Lever to rear end central part. Hinge to front loading floor. Rear backrest detent to rear seat cushion. Stop to rear panel door. Lateral ornamental cover to panelling. Door catch on door left.
Mercedes-Benz Nut
M10
Diameter: 10mm
Strength / hardness class: 10
Thread code letter: M
Thread pitch: 1,5mm
Width across flats: 16mm. Bracket to transmission. Energy-absorbing unit to cross member. Bell housing to intermediate flange. Battery cable to cable connector. Wiper linkage to gearing. Cable to starting motor,terminal 30. Torsion bar to frame floor unit. Front bumper to cross member.
Mercedes-Benz Tapping Screw
Covering to stiffening upper part, front. Vacuum element at filler neck flap.
Mercedes-Benz Bracket to stabilizer. Torsion bar to link. Universal joint to steering column.
Mercedes-Benz Cable to cable connector. Front bumper to cross member. Hinge lever to support upper part. Rear bumper to rear body panel cross member. Bell housing with transmission to intermediate flange.

