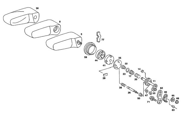
Folding Armrest for 1990 Mercedes-Benz 560SEL
No.
Part # / Description / Price
23
23
53
Mechanical Securing
Mercedes-Benz
Mercedes-Benz Handle to safety hook. Gas-operated strut. Front hood release cable, to front module. Rear lid hinge and folding top case hinge to body. Hinge to engine hood. Steering coupling to steering shaft and to steering. Gas pressure spring to damper strut console.
65
68
71
Screw
Mercedes-Benz
$7.25
Mercedes-Benz Gearing to seat height adjustment. Tunnel,front floor m8x20. Tunnel striker plate to tunnel.
83
No.
Part # / Description / Price
5

