Engine Hood for 1986 Mercedes-Benz 560SEL
Mercedes-Benz Hexagon Head Bolt
Rear lid to hinge lever. Drive to rear pillar. Pipe line to shock absorber leg reinforcement. Strut to front cross member. Bracket to car floor. Cooling pipe to front cross member. Engine hood upper catch to engine hood. Partition panel. Strut to stiffening,front central.
Mercedes-Benz Hinge lever to cowl. Heater case to fire wall. Stop to interior part. Engine hood hinge to rear wheelhouse. Bumper on fender. Roller blind to rear panel covering, top.
Mercedes-Benz Covering to body. Control unit to the right of legroom. Covering to outside central piece. Starting cable to unit partition panel. 5 mm. Covering to cross member. For partition plate at wheel arch pan and reinforcement plate. See group 69,fig.no.: 53 see group 69,fig.no.: 56. Ashtray to tray. Switch to partition panel.
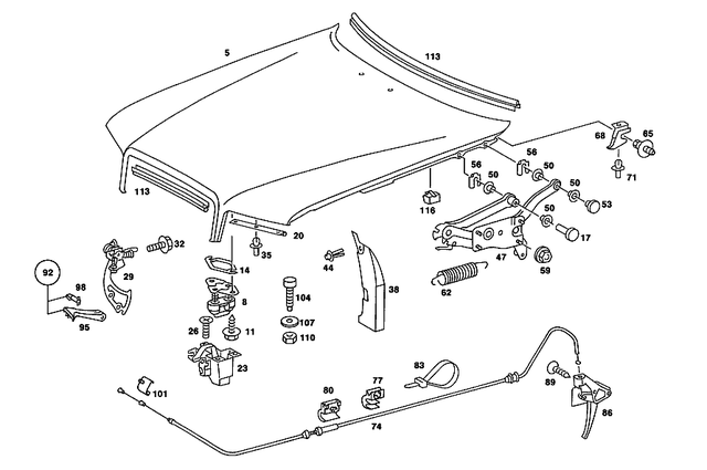
Mercedes-Benz Engine hood release cable handle to left front panel pillar. Covering below instrument panel,left. Engine hood release cable to front panel,bottom.
Mercedes-Benz Engine hood release cable to wheel arch panel. Engine hood release cable to stiffening,front central.
Mercedes-Benz Nut
M6. Bracket to water tank. Mounting parts. Control unit. Bracket mounting. Brake booster assembly to asr bracket. Fuel lines to cowl. Transistorized ignition switchgear to wheelhouse panel. Roller blind to rear panel covering, top.
Mercedes-Benz Engine hood,front,behind radiator grille shell 210 mm. Engine hood,central outside part 1500mm. Used without air conditioner. Between central part and the rear of engine hood 1500mm. Bottom covering 430 mm.
Mercedes-Benz Rear lid to hinge lever. Drive to rear pillar. Pipe line to shock absorber leg reinforcement. Strut to front cross member. Bracket to car floor. Cooling pipe to front cross member. Engine hood upper catch to engine hood. Partition panel. Strut to stiffening,front central.
