Regulation of Dynamic Headlamp Range Control, Front for 1993 Mercedes-Benz 400SEL
Vehicle
1993 Mercedes-Benz 400SEL
Change Vehicle
- Acceleration Skid Control (Asr)
- Adaptive Damping System (Ads)
- Apparatus Case and Control Units
- Auxiliary Heater
- Battery, Starter/Alternator Cable
- Brake Pad Wear Indicator, Abs, Asd and Electronic Traction System
- Cable Harness Belt Warning
- Cockpit Cable Harness
- Corresponding Cable Harness, in Apparatus Case
- Electric Cable Used for Rear Space Air Conditioner
- Electrical Parts Used for Transmission
- Electronic Stability Program (ESP®)
- Engine Cable Harness
- Engine Cable Harness, Body Mounted
- Frame Floor Unit Main Cable Harness
- Fuse Box and Relay
- Headlamp Cable Harness
- Horn
- Ignition System
- Inboard Cable Harness & Belt Warning Device
- Instrument Cluster
- Loom Ties and Cable Mounting Parts
- On-Board Computer
- Overheat Warning Indicator and Belt Warning
- Parametric Steering
- Rear Axle Wiring
- Tail Lamp Cable Harness and Fuel Pump Cable
- Tempomat (Cruise Control)
- Additional Parts Taxi
- Antenna
- Auto Pilot System (Aps)
- Autotelephone
- Belt Locking Retractor, Airbag and Sidebag
- Burglary Alarm System and Infrared Closing System
- Cable Cover and Cable Ducts
- Cable Harness for Radio, Loudspeaker and CD-Player
- Car Phone, Voice Control System and Distress Call
- Comfort Control
- Communication and Navigation System (Cns)
- Cool Box
- Curtain and Roller Blind, Rear Window
- Distress Alarm System
- Door Cable Harnesses & Protective Hoses
- Electric Front Seat Adjustment
- Electric Rear Seat Adjustment
- Electric Sliding Roof
- Headlamp Wiper/Washer
- Infra-Red Closing System
- Interior Lamps
- Interior Lamps, Rear Cigar Lighter Cable Harness
- Light Range Adjuster Electric
- Lighting Unit
- Mirror/Steering-Column Adjustment, and Driver Memory
- Pane Wiper
- Parktronic System (Pts)
- Power Closing System
- Radio Set, Remote Control, Amplifier, CD-Player, Loudspeaker
- Rear Lamps, Additional Stop Light, and License Plate Lamp
- Seat Heating
- Switch
- Telefax
- Curtain
- Detachable Components, Instrument Panel
- Front Panel Pillar Panelling, Lining on Floor and Footrest
- Glove Compartment and Spectacle Shelf in Instrument Panel
- Hat Tray, Roller Blind, First Aid Box
- Housing with Tray, Armrest, and Ashtray
- Instrument Panel & Body Parts Used for Co-Driver Airbag
- Insulation in Engine Compartment, on Roof Rail and Rear End Pillar
- Insulation in Passenger and Luggae Compartment
- Wood Covering in Housing with Tray, One-Part
- Wood Covering in Housing with Tray, One-Part L. H. D
- Wood Covering in Housing with Tray, One-Part R. H. D
- Wood Covering in Housing with Tray, Two-Part
- Air Conditioner
- Airbag Driver Side
- Antitheft Alarm System
- Auto Pilot System (Aps)
- Autotelephone, Mercedes-Benz Version
- Closing System with Infrared Remote Control
- Co-Driver Air Bag
- Driver and Co-Driver Air Bags
- Front Orthopaedic Backrest
- Headlamp Wiper/Washer
- Headlamp-Xenon
- Independent Heating
- Interior Safeguard
- Language Control System
- Pennant
- Power Closing System
- Radio Set and Compact Disc Changer
- Radio Set-Antenna
- Radio Set-Loudspeaker
- Rear Lid Additional Locking Mechanism
- Rear Orthopaedic Backrest
- Rear Window Electric Roller Blind
- Seat Heating
- Second Battery
- Tempomat (Cruise Control)
- Trailer Coupling
- Front Springs and Suspension with, or Less, Adaptive Damping System
- Front Torsion Bar-Standard Suspension
- Hydraulic Line Mounting Parts
- Line Arrangement in Case of Self-Levelling Device & a S D
- Oil Tank & Valves of Self-Levellingdevice Hydraulic System, a S D
- Rear Line Arrangement in Case of Adaptive Damping System
- Rear Springs & Suspension Used with Self-Levelling Device & a D S
- Rear Springs and Suspension Standard Suspension
- Rear Torsion Bar & Height Control Valve Used Self-Levellingdevice
- Rear Torsion Bar-Standard Spring Suspension
- Regulation of Dynamic Headlamp Range Control, Front
- Regulation of Dynamic Headlamp Range Control, Rear
- Back-Up Aid
- Central Locking System
- Engine Vacuum Connection
- Engine Vacuum Connection and Light Range Regulator
- Flush Fitted Rear Lid Handle
- Heating/Automatic-Air-Conditioner Vacuum Parts
- Lumbar Vertebra Support and Multicontour Backrest
- Power Closing System
- Rear Headrest Adjustment
- Vacuum Parts for Shiftpoint Retard
- Vacuum Parts, 2 Selection Programs
- Vacuum Pump and Valve Block
- Acceleration Skid Control (Asr)
- Adaptive Damping System (Ads)
- Apparatus Case and Control Units
- Auxiliary Heater
- Battery, Starter/Alternator Cable
- Brake Pad Wear Indicator, Abs, Asd and Electronic Traction System
- Cable Harness Belt Warning
- Cockpit Cable Harness
- Corresponding Cable Harness, in Apparatus Case
- Electric Cable Used for Rear Space Air Conditioner
- Electrical Parts Used for Transmission
- Electronic Stability Program (ESP®)
- Engine Cable Harness
- Engine Cable Harness, Body Mounted
- Frame Floor Unit Main Cable Harness
- Fuse Box and Relay
- Headlamp Cable Harness
- Horn
- Ignition System
- Inboard Cable Harness & Belt Warning Device
- Instrument Cluster
- Loom Ties and Cable Mounting Parts
- On-Board Computer
- Overheat Warning Indicator and Belt Warning
- Parametric Steering
- Rear Axle Wiring
- Tail Lamp Cable Harness and Fuel Pump Cable
- Tempomat (Cruise Control)
- Additional Parts Taxi
- Antenna
- Auto Pilot System (Aps)
- Autotelephone
- Belt Locking Retractor, Airbag and Sidebag
- Burglary Alarm System and Infrared Closing System
- Cable Cover and Cable Ducts
- Cable Harness for Radio, Loudspeaker and CD-Player
- Car Phone, Voice Control System and Distress Call
- Comfort Control
- Communication and Navigation System (Cns)
- Cool Box
- Curtain and Roller Blind, Rear Window
- Distress Alarm System
- Door Cable Harnesses & Protective Hoses
- Electric Front Seat Adjustment
- Electric Rear Seat Adjustment
- Electric Sliding Roof
- Headlamp Wiper/Washer
- Infra-Red Closing System
- Interior Lamps
- Interior Lamps, Rear Cigar Lighter Cable Harness
- Light Range Adjuster Electric
- Lighting Unit
- Mirror/Steering-Column Adjustment, and Driver Memory
- Pane Wiper
- Parktronic System (Pts)
- Power Closing System
- Radio Set, Remote Control, Amplifier, CD-Player, Loudspeaker
- Rear Lamps, Additional Stop Light, and License Plate Lamp
- Seat Heating
- Switch
- Telefax
- Curtain
- Detachable Components, Instrument Panel
- Front Panel Pillar Panelling, Lining on Floor and Footrest
- Glove Compartment and Spectacle Shelf in Instrument Panel
- Hat Tray, Roller Blind, First Aid Box
- Housing with Tray, Armrest, and Ashtray
- Instrument Panel & Body Parts Used for Co-Driver Airbag
- Insulation in Engine Compartment, on Roof Rail and Rear End Pillar
- Insulation in Passenger and Luggae Compartment
- Wood Covering in Housing with Tray, One-Part
- Wood Covering in Housing with Tray, One-Part L. H. D
- Wood Covering in Housing with Tray, One-Part R. H. D
- Wood Covering in Housing with Tray, Two-Part
- Air Conditioner
- Airbag Driver Side
- Antitheft Alarm System
- Auto Pilot System (Aps)
- Autotelephone, Mercedes-Benz Version
- Closing System with Infrared Remote Control
- Co-Driver Air Bag
- Driver and Co-Driver Air Bags
- Front Orthopaedic Backrest
- Headlamp Wiper/Washer
- Headlamp-Xenon
- Independent Heating
- Interior Safeguard
- Language Control System
- Pennant
- Power Closing System
- Radio Set and Compact Disc Changer
- Radio Set-Antenna
- Radio Set-Loudspeaker
- Rear Lid Additional Locking Mechanism
- Rear Orthopaedic Backrest
- Rear Window Electric Roller Blind
- Seat Heating
- Second Battery
- Tempomat (Cruise Control)
- Trailer Coupling
- Front Springs and Suspension with, or Less, Adaptive Damping System
- Front Torsion Bar-Standard Suspension
- Hydraulic Line Mounting Parts
- Line Arrangement in Case of Self-Levelling Device & a S D
- Oil Tank & Valves of Self-Levellingdevice Hydraulic System, a S D
- Rear Line Arrangement in Case of Adaptive Damping System
- Rear Springs & Suspension Used with Self-Levelling Device & a D S
- Rear Springs and Suspension Standard Suspension
- Rear Torsion Bar & Height Control Valve Used Self-Levellingdevice
- Rear Torsion Bar-Standard Spring Suspension
- Regulation of Dynamic Headlamp Range Control, Front
- Regulation of Dynamic Headlamp Range Control, Rear
- Back-Up Aid
- Central Locking System
- Engine Vacuum Connection
- Engine Vacuum Connection and Light Range Regulator
- Flush Fitted Rear Lid Handle
- Heating/Automatic-Air-Conditioner Vacuum Parts
- Lumbar Vertebra Support and Multicontour Backrest
- Power Closing System
- Rear Headrest Adjustment
- Vacuum Parts for Shiftpoint Retard
- Vacuum Parts, 2 Selection Programs
- Vacuum Pump and Valve Block
Browse Categories
Select category
- Acceleration Skid Control (Asr)
- Adaptive Damping System (Ads)
- Apparatus Case and Control Units
- Auxiliary Heater
- Battery, Starter/Alternator Cable
- Brake Pad Wear Indicator, Abs, Asd and Electronic Traction System
- Cable Harness Belt Warning
- Cockpit Cable Harness
- Corresponding Cable Harness, in Apparatus Case
- Electric Cable Used for Rear Space Air Conditioner
- Electrical Parts Used for Transmission
- Electronic Stability Program (ESP®)
- Engine Cable Harness
- Engine Cable Harness, Body Mounted
- Frame Floor Unit Main Cable Harness
- Fuse Box and Relay
- Headlamp Cable Harness
- Horn
- Ignition System
- Inboard Cable Harness & Belt Warning Device
- Instrument Cluster
- Loom Ties and Cable Mounting Parts
- On-Board Computer
- Overheat Warning Indicator and Belt Warning
- Parametric Steering
- Rear Axle Wiring
- Tail Lamp Cable Harness and Fuel Pump Cable
- Tempomat (Cruise Control)
- Additional Parts Taxi
- Antenna
- Auto Pilot System (Aps)
- Autotelephone
- Belt Locking Retractor, Airbag and Sidebag
- Burglary Alarm System and Infrared Closing System
- Cable Cover and Cable Ducts
- Cable Harness for Radio, Loudspeaker and CD-Player
- Car Phone, Voice Control System and Distress Call
- Comfort Control
- Communication and Navigation System (Cns)
- Cool Box
- Curtain and Roller Blind, Rear Window
- Distress Alarm System
- Door Cable Harnesses & Protective Hoses
- Electric Front Seat Adjustment
- Electric Rear Seat Adjustment
- Electric Sliding Roof
- Headlamp Wiper/Washer
- Infra-Red Closing System
- Interior Lamps
- Interior Lamps, Rear Cigar Lighter Cable Harness
- Light Range Adjuster Electric
- Lighting Unit
- Mirror/Steering-Column Adjustment, and Driver Memory
- Pane Wiper
- Parktronic System (Pts)
- Power Closing System
- Radio Set, Remote Control, Amplifier, CD-Player, Loudspeaker
- Rear Lamps, Additional Stop Light, and License Plate Lamp
- Seat Heating
- Switch
- Telefax
- Curtain
- Detachable Components, Instrument Panel
- Front Panel Pillar Panelling, Lining on Floor and Footrest
- Glove Compartment and Spectacle Shelf in Instrument Panel
- Hat Tray, Roller Blind, First Aid Box
- Housing with Tray, Armrest, and Ashtray
- Instrument Panel & Body Parts Used for Co-Driver Airbag
- Insulation in Engine Compartment, on Roof Rail and Rear End Pillar
- Insulation in Passenger and Luggae Compartment
- Wood Covering in Housing with Tray, One-Part
- Wood Covering in Housing with Tray, One-Part L. H. D
- Wood Covering in Housing with Tray, One-Part R. H. D
- Wood Covering in Housing with Tray, Two-Part
- Air Conditioner
- Airbag Driver Side
- Antitheft Alarm System
- Auto Pilot System (Aps)
- Autotelephone, Mercedes-Benz Version
- Closing System with Infrared Remote Control
- Co-Driver Air Bag
- Driver and Co-Driver Air Bags
- Front Orthopaedic Backrest
- Headlamp Wiper/Washer
- Headlamp-Xenon
- Independent Heating
- Interior Safeguard
- Language Control System
- Pennant
- Power Closing System
- Radio Set and Compact Disc Changer
- Radio Set-Antenna
- Radio Set-Loudspeaker
- Rear Lid Additional Locking Mechanism
- Rear Orthopaedic Backrest
- Rear Window Electric Roller Blind
- Seat Heating
- Second Battery
- Tempomat (Cruise Control)
- Trailer Coupling
- Front Springs and Suspension with, or Less, Adaptive Damping System
- Front Torsion Bar-Standard Suspension
- Hydraulic Line Mounting Parts
- Line Arrangement in Case of Self-Levelling Device & a S D
- Oil Tank & Valves of Self-Levellingdevice Hydraulic System, a S D
- Rear Line Arrangement in Case of Adaptive Damping System
- Rear Springs & Suspension Used with Self-Levelling Device & a D S
- Rear Springs and Suspension Standard Suspension
- Rear Torsion Bar & Height Control Valve Used Self-Levellingdevice
- Rear Torsion Bar-Standard Spring Suspension
- Regulation of Dynamic Headlamp Range Control, Front
- Regulation of Dynamic Headlamp Range Control, Rear
- Back-Up Aid
- Central Locking System
- Engine Vacuum Connection
- Engine Vacuum Connection and Light Range Regulator
- Flush Fitted Rear Lid Handle
- Heating/Automatic-Air-Conditioner Vacuum Parts
- Lumbar Vertebra Support and Multicontour Backrest
- Power Closing System
- Rear Headrest Adjustment
- Vacuum Parts for Shiftpoint Retard
- Vacuum Parts, 2 Selection Programs
- Vacuum Pump and Valve Block
- Acceleration Skid Control (Asr)
- Adaptive Damping System (Ads)
- Apparatus Case and Control Units
- Auxiliary Heater
- Battery, Starter/Alternator Cable
- Brake Pad Wear Indicator, Abs, Asd and Electronic Traction System
- Cable Harness Belt Warning
- Cockpit Cable Harness
- Corresponding Cable Harness, in Apparatus Case
- Electric Cable Used for Rear Space Air Conditioner
- Electrical Parts Used for Transmission
- Electronic Stability Program (ESP®)
- Engine Cable Harness
- Engine Cable Harness, Body Mounted
- Frame Floor Unit Main Cable Harness
- Fuse Box and Relay
- Headlamp Cable Harness
- Horn
- Ignition System
- Inboard Cable Harness & Belt Warning Device
- Instrument Cluster
- Loom Ties and Cable Mounting Parts
- On-Board Computer
- Overheat Warning Indicator and Belt Warning
- Parametric Steering
- Rear Axle Wiring
- Tail Lamp Cable Harness and Fuel Pump Cable
- Tempomat (Cruise Control)
- Additional Parts Taxi
- Antenna
- Auto Pilot System (Aps)
- Autotelephone
- Belt Locking Retractor, Airbag and Sidebag
- Burglary Alarm System and Infrared Closing System
- Cable Cover and Cable Ducts
- Cable Harness for Radio, Loudspeaker and CD-Player
- Car Phone, Voice Control System and Distress Call
- Comfort Control
- Communication and Navigation System (Cns)
- Cool Box
- Curtain and Roller Blind, Rear Window
- Distress Alarm System
- Door Cable Harnesses & Protective Hoses
- Electric Front Seat Adjustment
- Electric Rear Seat Adjustment
- Electric Sliding Roof
- Headlamp Wiper/Washer
- Infra-Red Closing System
- Interior Lamps
- Interior Lamps, Rear Cigar Lighter Cable Harness
- Light Range Adjuster Electric
- Lighting Unit
- Mirror/Steering-Column Adjustment, and Driver Memory
- Pane Wiper
- Parktronic System (Pts)
- Power Closing System
- Radio Set, Remote Control, Amplifier, CD-Player, Loudspeaker
- Rear Lamps, Additional Stop Light, and License Plate Lamp
- Seat Heating
- Switch
- Telefax
- Curtain
- Detachable Components, Instrument Panel
- Front Panel Pillar Panelling, Lining on Floor and Footrest
- Glove Compartment and Spectacle Shelf in Instrument Panel
- Hat Tray, Roller Blind, First Aid Box
- Housing with Tray, Armrest, and Ashtray
- Instrument Panel & Body Parts Used for Co-Driver Airbag
- Insulation in Engine Compartment, on Roof Rail and Rear End Pillar
- Insulation in Passenger and Luggae Compartment
- Wood Covering in Housing with Tray, One-Part
- Wood Covering in Housing with Tray, One-Part L. H. D
- Wood Covering in Housing with Tray, One-Part R. H. D
- Wood Covering in Housing with Tray, Two-Part
- Air Conditioner
- Airbag Driver Side
- Antitheft Alarm System
- Auto Pilot System (Aps)
- Autotelephone, Mercedes-Benz Version
- Closing System with Infrared Remote Control
- Co-Driver Air Bag
- Driver and Co-Driver Air Bags
- Front Orthopaedic Backrest
- Headlamp Wiper/Washer
- Headlamp-Xenon
- Independent Heating
- Interior Safeguard
- Language Control System
- Pennant
- Power Closing System
- Radio Set and Compact Disc Changer
- Radio Set-Antenna
- Radio Set-Loudspeaker
- Rear Lid Additional Locking Mechanism
- Rear Orthopaedic Backrest
- Rear Window Electric Roller Blind
- Seat Heating
- Second Battery
- Tempomat (Cruise Control)
- Trailer Coupling
- Front Springs and Suspension with, or Less, Adaptive Damping System
- Front Torsion Bar-Standard Suspension
- Hydraulic Line Mounting Parts
- Line Arrangement in Case of Self-Levelling Device & a S D
- Oil Tank & Valves of Self-Levellingdevice Hydraulic System, a S D
- Rear Line Arrangement in Case of Adaptive Damping System
- Rear Springs & Suspension Used with Self-Levelling Device & a D S
- Rear Springs and Suspension Standard Suspension
- Rear Torsion Bar & Height Control Valve Used Self-Levellingdevice
- Rear Torsion Bar-Standard Spring Suspension
- Regulation of Dynamic Headlamp Range Control, Front
- Regulation of Dynamic Headlamp Range Control, Rear
- Back-Up Aid
- Central Locking System
- Engine Vacuum Connection
- Engine Vacuum Connection and Light Range Regulator
- Flush Fitted Rear Lid Handle
- Heating/Automatic-Air-Conditioner Vacuum Parts
- Lumbar Vertebra Support and Multicontour Backrest
- Power Closing System
- Rear Headrest Adjustment
- Vacuum Parts for Shiftpoint Retard
- Vacuum Parts, 2 Selection Programs
- Vacuum Pump and Valve Block
No.
Part # / Description / Price
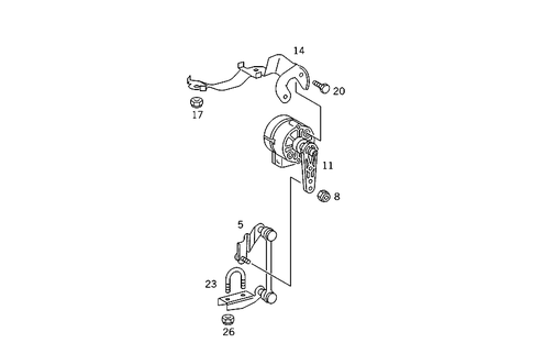
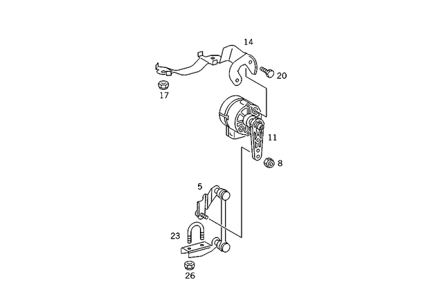
11
Turning Angle Sensor
Mercedes-Benz
Mercedes-Benz (turning angle sensor). Front and rear axles. Rear axle level sensor, headlamp range adjustment.
14
17
Nut
Mercedes-Benz
Mercedes-Benz Spring strut to body. M8
Diameter: 8mm
Strength / hardness class: 8
Thread code letter: M
Thread pitch: 1,25mm
Outside diameter: 17,9mm
Width across flats: 13mm. Suspension strut to body. Torsion bar on body.
20
Screw
Mercedes-Benz
Mercedes-Benz M5X8
Diameter: 5mm
Strength / hardness class: 8.8
Thread code letter: M
Thread pitch: 1mm. Sensor mounting on front axle right. Sender unit to bracket. Bracket on rear axle m 5. Travel sensor to bracket. Fastening sensor to front axle. Bracket to turning angle sensor m5 x 8. Fastening sensor to rear axle. Turning angle sensor at bracket.
23