Pane Washer, Headlamp Wiper/Washer for 1993 Mercedes-Benz 400SEL
Mercedes-Benz Bolt
Engine hood upper catch to engine hood. Flap to hinge m 6x10.
Mercedes-Benz Light unit on reinforcement,front, bottom 4.8x19 mm. 4.8x19. Lighting unit to front fender. 4.8x19.
Mercedes-Benz Securing
Control unit to c-pillar. Bracket to c-pillar. Anti-tow-away sensor. Bracket mounting aeg. Instrument panel to cross member. Abs control unit. Control unit to mounting plate. Bracket to wheelhouse. Electronic gas control unit. Instrument panel to knee protection pad.
Mercedes-Benz Heater. 7.5X2.0Strength / hardness class: EPDMInside diameter: 7,5mmOutside diameter: 11,5mmMaterial thickness: 2mm. HEATING. 7.5X2.0Strength / hardness class: EPDMInside diameter: 7,5mmOutside diameter: 11,5mmMaterial thickness: 2mm. MOUNTING PLATE TO DRI ...
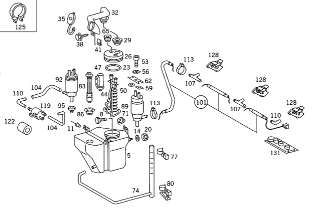
Mercedes-Benz At liquid tank. At reservoir,top. Instead of pump. Heater. Heated screen wash system. Cover to heat exchanger. Windshield washer heated. On cover. Water reservoir.
Mercedes-Benz Windshield washer water level. Water level switch at container.
Mercedes-Benz Windshield washer m5/1. Nozzles. Windshield washer system. Windshield washer fluid pump.
Mercedes-Benz From pump into reservoir. Pump to reservoir, connector. From pump to reservoir. Headlamp cleaning system pump in reservoir. Windshield washer.
Mercedes-Benz Hose
Dia., 8.2x4.6 mm. 4.6x1.8 mm. Antenna water drain 120 mm. 4.6x1.8 mm. 1180 mm. 4.6x1.8 mm. Antenna water drain 180 mm. 4.6x1.8 mm. Windshield washer. 4.6x1.8 mm. From connector to additional reservoir 250 mm. 4.6x1.8 mm. From pump to check valve, not heated. 4.6x1.8 mm. Headlamp wiper/washer. 4.6x1.8 mm. From nozzle to check valve. 4.6x1.8 mm.
Mercedes-Benz Engine hood bracket,rear. At hose to left and right nozzles. (check valve),windshield washer. Headlamp wiper/washer.
